南通方圣石化设备有限公司主要开发生产S系列静态混合器、喷射器、减温器,VJG系列精细过滤器、SB系列泵用过滤器,以及消声器、视镜、阻火器、呼吸阀等九大类。
   静态混合器
   蒸汽加热设备系列
   动态混合设备
   过滤设备
   一、管道过滤器
     1、SBY过滤器
     2、SBT过滤器
     3、SBL过滤器
     4、SBV过滤器
     5、SBW过滤器
   二、自洁式过滤器
     1、ZJD自洁式过滤器
     2、ZJD刷式自洁式过滤器
     3、ZJD吸吮扫描式过滤器
     4、ZJDL反冲洗自洁式过滤器
     5、ZJDP导流自洁式过滤器
     6、ZJD自洁式过滤器电控装置
     7、使用指南
   三、手动清洗过滤器
   四、精细过滤器
     1、ZJF过滤器
     2、常见滤芯式精细过滤器
     3、袋式精细过滤器
   五、空气过滤器
     1、FSGI型送风空气过滤器
     2、FSGII型吹风空气过滤器
   活性碳过滤器
   七、盘式过滤器
   八、FSD消气过滤器
   九、滤件系列
     1、VJGM型金属滤芯
     2、VJGM型非金属滤芯
     3、滤袋系列
   纸浆专用设备
   管用专用小型设备
   油罐附件系列
   煤气管道排水器
 

南通方圣石化设备有限公司
地址:启东市汇龙镇台角工业园区
邮编:226200
电话:0513-83639880
传真:0513-83639099
在线咨询:
微信:15851380122
微信:15365547782
http://www.ntfssh.com
E-mail:fs@ntfssh.com

产品介绍 首页 >> 产品介绍
陶瓷滤芯精细过滤器VJGP型
一、产品特性
  陶瓷精细过滤器是以多孔陶瓷芯为过滤元件的气、液、固分离与净化装置,具有价格低廉,过滤效率高,易于反吹和连续化运行等优点,特别适用于强酸、强碱、高温、高压介质的精密过滤与分离。
二、典型应用
  液体过滤:
  -工业污水,生活废水处理,自来水澄清,除味和除菌;
  -饮料、食品、酿造行业中过滤、除菌,电子、制药、光学透镜研磨用高纯水制备;
  -化工行业:酸、碱性液体过滤,酒精回收等,如各种电解、电镀液处理、纯碱过滤、丙烯腈、粘胶过滤等;
  -制药行业中各种药水过滤,如青霉素,链霉素、针剂等;
  气体过滤:
  -压缩空气中杂质、油过滤;
  -啤酒、制药、酿造行业中无菌空气制备;
  -石化行业中干气过滤、催化气体过滤
  -环保行业中高温烟气除尘
  -化纤行业中气体混合与净化。
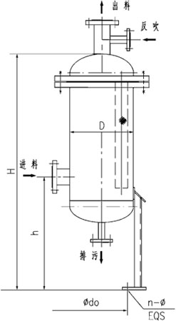
VJGP型陶瓷精细过滤器典型结构与尺寸
 ★注:表中液体流量均指水的流量,气体流量均指标准状况下空气流量。
各种滤芯主要技术指标
  不锈钢纤维烧结滤芯   金属粉末烧结滤芯
不锈钢网烧结滤芯
陶 瓷 滤 芯
  线缠绕式滤芯
  外径 ——Φ65mm;内径——Φ29mm;长度——250、500、750、1000mm
  耐压——0.5MPa;耐温——60℃(聚丙烯骨架)、120℃(不锈钢骨架、棉滤层)、280℃(不锈钢骨架、玻纤滤层)
过滤精度——0.5、0.8、1、3、5、10、20、30、50、75、100μm
  聚丙烯折叠式滤芯
  过滤精度(μm ):0.1、0.2、0.45、1、2、3、5、10、30、60
  耐压(MPa):0.4
  最高工作温度(℃):80
  最高消毒温度(℃):120、(0.1MPa)
  尺寸规格:外径——Φ65mm;内径——Φ30mm;长度——250、500、750、1000mm
精细过滤器技术参数提交单
三、订货须知
  1、精细过滤器种类繁多,参数不尽相同,请正确填写“精细过滤器技术参数提交单”与我公司技术部联系,我们将为您设计最合适的过滤器。
  2、本公司生产的精细过滤器拉接管法兰可按HG、HGJ、GB、JB/T、SH或ANSI、JIS等标准制造,用户在订货时应在合同中注明法兰标准及规格。
  3、精细过滤器的进出口压差是验证滤件使用情况的重要手段,因此,建议用户在精细过滤器进出口管系上安装压力表,如需远距离检测或警报系统,请在订货时提出。
  4、除样本所列产品外,我公司可根据用户要求,提供非标过滤器的设计和制造。
 
南通方圣石化设备有限公司 地址:启东市汇龙镇台角工业园区 邮编:226200 混合器|汽水混合器
电话:0513-83639880 传真:0513-83639099