南通方圣石化设备有限公司主要开发生产S系列静态混合器、喷射器、减温器,VJG系列精细过滤器、SB系列泵用过滤器,以及消声器、视镜、阻火器、呼吸阀等九大类。
   静态混合器
   蒸汽加热设备系列
   动态混合设备
   过滤设备
   一、管道过滤器
     1、SBY过滤器
     2、SBT过滤器
     3、SBL过滤器
     4、SBV过滤器
     5、SBW过滤器
   二、自洁式过滤器
     1、ZJD自洁式过滤器
     2、ZJD刷式自洁式过滤器
     3、ZJD吸吮扫描式过滤器
     4、ZJDL反冲洗自洁式过滤器
     5、ZJDP导流自洁式过滤器
     6、ZJD自洁式过滤器电控装置
     7、使用指南
   三、手动清洗过滤器
   四、精细过滤器
     1、ZJF过滤器
     2、常见滤芯式精细过滤器
     3、袋式精细过滤器
   五、空气过滤器
     1、FSGI型送风空气过滤器
     2、FSGII型吹风空气过滤器
   活性碳过滤器
   七、盘式过滤器
   八、FSD消气过滤器
   九、滤件系列
     1、VJGM型金属滤芯
     2、VJGM型非金属滤芯
     3、滤袋系列
   纸浆专用设备
   管用专用小型设备
   油罐附件系列
   煤气管道排水器
 

南通方圣石化设备有限公司
地址:启东市汇龙镇台角工业园区
邮编:226200
电话:0513-83639880
传真:0513-83639099
在线咨询:
微信:15851380122
微信:15365547782
http://www.ntfssh.com
E-mail:fs@ntfssh.com

产品介绍 首页 >> 产品介绍
ZJD系列刷式自洁式过滤器
一、功能与用途
  Z J D系列刷式自洁式过滤器适用于废水处理流程,钢铁厂冲渣水、电厂流程及冷却水,造纸工序及进水,化工生产流程及灌溉系统等场合,用以滤去水中3500-80微米粒径的各种硬质颗粒,确保系统的安全可靠运行。
二、设备结构与工作原理
  ZJD系列刷式自洁式过滤器滤件采用高强度的Johnson滤网,具有处理量大、使用寿命长、清洗效率高等特点。本机采用压差控制、定时控制自动清洗滤网。当过滤器进出口压差达设定值或定时器达到设定时间时,电动控制箱发出信号驱动电机转动,同时排污阀打开。吸附在滤网上的杂质微粒被转动的钢丝刷刷下,随水流从排污阀排出。当过滤器进出口压差恢复正常或定时器设定时间结束后,电机停止运转,电动排污阀关闭。整个过程中,物料不断流,实现了连续化、自动化生产。
正常过滤状态
清洗状态
工作原理图
三、常用规格与技术参数
注:工作压力大于4.0MPa另行设计
四、结构形式及外形尺寸
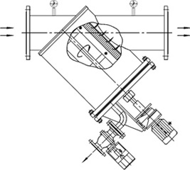
ZJDYⅠ型刷式自洁式过滤器
ZJDYⅠ型刷式自洁式过滤器
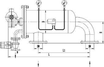
 ZJDLⅠ型刷式自洁式过滤器
ZJDLⅠ型刷式自洁式过滤器(DN>300)
ZJDLⅠ型刷式自洁式过滤器(DN≤300)
  注:本过滤器根据用户工艺要求,可设计成进出口位于同一高度。
五、结构形式及外形尺寸
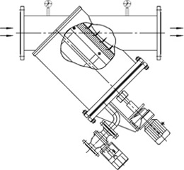
 ZJDFⅠ型刷式自洁式过滤器
  注:筒体直径≥500mm时, 过滤器封头采用椭圆形封头形式。
ZJDFⅠ型刷式自洁式过滤
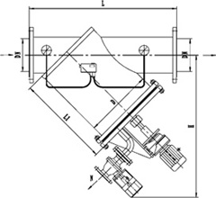
ZJDT Ⅰ型刷式自洁式过滤器
 ZJDT Ⅰ型刷式自洁式过滤器
 
南通方圣石化设备有限公司 地址:启东市汇龙镇台角工业园区 邮编:226200 混合器|汽水混合器
电话:0513-83639880 传真:0513-83639099