南通方圣石化设备有限公司主要开发生产S系列静态混合器、喷射器、减温器,VJG系列精细过滤器、SB系列泵用过滤器,以及消声器、视镜、阻火器、呼吸阀等九大类。
   静态混合器
   蒸汽加热设备系列
   动态混合设备
   过滤设备
   纸浆专用设备
   SKL型浆氯静态混合器
   浆氯分配器
   LH型氯水分散混合器
   LQ-1468型液氯汽化器
   LYZ型氯气逆止罐
   LP型氯化喷射器
   胺液回收器
   KAGZ型高效组合在线胺液过滤装置
   新型高效石化净化/聚结分离装置
   预过滤器
   硫封器
   填料式管道自动补偿器
   高效有机蒸汽吸附装置
   KDPB型低压脉冲喷吹袋式除尘器
   KDPB390系列低压脉冲长袋除尘器
   KDPB390系列低压脉冲长袋除尘器
   KDPB970系列低压脉冲长袋除尘器
   管用专用小型设备
   油罐附件系列
   煤气管道排水器
 

 南通方圣石化设备有限公司
 地址:启东市汇龙镇台角工业园区
 邮编:226200
 电话:0513-83639880
 传真:0513-83639099
 在线咨询:
 微信:15851380122
 微信:15365547782
 http://www.ntfssh.com
 E-mail:fs@ntfssh.com

产品介绍 首页 >> 产品介绍
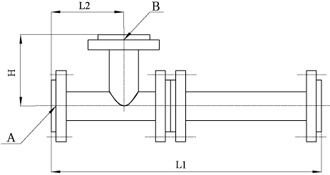
LH型氯水分散混合器
一、产品概述
  LH型氯水分散混合器是纸浆多段漂氯化段(C段)中浆氯静态混合器的配套专用产品。
二、工作原理
  L H型氯水分散混合器是采用文丘里喷射器技术的小型混合设备,它利用高压水流的高速喷射,使设备内部产生负压,将通氯管内的氯气吸入混合器内。高压水流的喷射,将氯气粉碎分散成微细气泡,然后混合溶解于水中,生成基本均匀的氯水混合物,再通过浆氯分配器的中和,与浆料一起进入LSK型浆氯静态混合器进行快速混合。
  由于氯化系统(氯气---水---纸浆)是非均匀的,所以氯气、水、纸浆的充分和有效的混合是非常重要的。如果不能均匀混合,浆料和氯气就不能均匀的相互接触,必然产生氯化不均的现象;残氯过多,也会增加腐蚀和对空气的污染。所以采用H R型氯水分散混合器将氯气与水预混合后生成基本均匀的氯水混合物再与纸浆混合效果将远远好于将氯气直接通入纸浆中的方式,也是氯化产生高质量匀质浆的最佳混合设备选择。
三、产品规格、型号
 
南通方圣石化设备有限公司 地址:启东市汇龙镇台角工业园区 邮编:226200 混合器|汽水混合器
电话:0513-83639880 传真:0513-83639099